登录社区云,与社区用户共同成长
邀请您加入社区
Redis 以单线程模型处理网络请求与命令操作,却能在高并发场景下保持惊人的吞吐能力。(哈希表、跳表等)以及,让单线程能够高效处理海量连接。随着 Redis 6.0 引入多线程 IO,网络读写被拆分给多个线程并行处理,进一步突破了网络瓶颈;而命令执行依然坚守单线程,避免了复杂并发控制,确保 Lua 脚本和事务的原子性。本文将从单线程的设计精髓,到主线程与 IO 线程的协作流程,深入浅出地解析 Re
在分布式架构中,多台服务器共享同一资源时,传统的 JVM 锁已无法保障数据一致性,分布式锁由此成为关键。Redisson 基于 Redis 实现的分布式锁,不仅支持可重入、自动续期,还通过发布订阅机制高效处理锁竞争。本文从加锁、锁续命、锁释放三个环节,深入解析 Redisson 的核心设计,包括 Lua 脚本保证原子性、Watch Dog 看门狗的定时续期机制,以及如何灵活控制锁的失效策略。
Redis中的列表(List)是一种有序、可重复的数据结构,支持双向操作,可以充当栈或队列角色。列表最多可存储2^32-1个元素,提供LPUSH/RPUSH(头插/尾插)、LPOP/RPOP(头删/尾删)、LINDEX(获取元素)、LINSERT(插入元素)等操作命令,支持阻塞版本的BLPOP/BRPOP。列表内部采用quicklist编码(结合ziplist和linkedlist),适用于消息队
Overridetry {throw new RuntimeException("存储消息失败", e);实现一个按 Token 预算裁剪的ChatMemory// 粗估:4个字符≈1 Token@Override@Overridei >= 0;i--) {@Override// 预算 2000 Token。
过去两个月里,Redis 在开源版本、云服务、企业版、AI 开发工具链以及可观测性体验上都有不少实用进展。这一轮更新里,比较值得关注的主线很明确:性能继续提升、运维体验继续收敛、AI 场景继续前置。无论是把 Redis 用在缓存、实时数据处理、事件流,还是 Agent / RAG 这类新型 AI 应用里,都能看到它在往更完整的“实时数据平台”方向继续推进。
执行replicaof命令后,从服务器会发送主服务器runID和复制进度offset,初始时offset=-1,主服器就开始bgsave生成rdb文件,然后传给从服务器,从服务器清除原来的数据,开始加载rdb文件,加载完成后会确认消息给主服务器,主服务器就把次次期间存在(replication buffer,一个从节点一个 )缓存区的数据传过去;注意点:rdb快照是全量快照,对redis性能有影响
语义路由解决的是一个关键问题:不是“怎么调用模型”,而是“该调用哪个模型”一句话总结:语义路由,是多模型时代的流量分配中枢。
语义缓存,是 AI 系统真正的第一层防火墙。其带来的不是优化而是架构升级。
本文对比了三款Kubernetes Redis Operator(KubeBlocks、OT-CONTAINER-KIT、Spotahome)在真实集群中的表现。测试环境为Kubernetes v1.34.1,重点关注部署体验、架构支持和性能调优。KubeBlocks支持主从+Sentinel和Cluster两种架构,通过Helm快速部署;OT-CONTAINER-KIT采用双CRD设计,但要求R
将数据存在硬盘上--->持久将数据存在内存上--->不持久换句话说,也就是你的进程和主机重启后,数据还存不存在的问题而Redis是一个“内存”数据库,把数据存在内存中---->不持久这也是Redis 相对于 MySQL这样的关系型数据库的优势---->效率高所以在Redis中,既要效率又要持久化,所以Redis硬盘存一份数据,内存也存一份数据,而这两份数据在理论是完全相同的,实际可能存在差异,但是
过去一年,很多团队都在谈 Agent。有人用它写代码,有人用它做知识问答,有人拿它跑自动化测试,也有人试图让它接入研发流程,承担一部分“分析、判断、执行、反馈”的工作。只要模型够强、Prompt 写得够细、工具接得够多,Agent 就能自然地进入生产流程。但真正把它放进研发链路之后,我很快发现,事情远没有想象中那么顺。让 Agent 在页面上完成一次漂亮演示,并不算难;难的是让它在真实工程环境里,
本文汇报了对话历史模块的开发进展,主要包括三部分内容:1)后端开发实现了对话历史存储、应用隔离、分页查询和管理功能,采用雪花算法生成ID,通过游标查询优化分页;2)前端开发调整了对话页面交互逻辑,新增对话管理界面;3)引入Redis实现对话记忆功能,结合数据库持久化与缓存策略,解决AI上下文丢失问题,同时优化分布式会话管理。技术方案注重隔离性设计,平衡性能与资源占用,体现业务适配与技术整合思维。
Redis(Remote Dictionary Server)是一个开源的、基于内存的键值对(Key-Value)存储系统。你可以把它理解为一个运行速度极快、功能极强的HashMap,但它不仅限于内存,还支持持久化(把数据存到硬盘),并且支持多种复杂的数据结构。核心定位内存数据库:数据主要存储在内存中,读写性能极高(读 110,000+ 次/秒,写 81,000+ 次/秒)。中间件:用作缓存、消息
摘要: Redis 8.2通过回归AGPLv3协议、支持多线程命令执行和原生向量索引,解决了Redis 7.x的许可、性能与功能瓶颈。金蝶天燕AMDC基于Redis 8.2内核,叠加向导式部署、灰度升级、MPTCP多路径传输等企业级增强,适配国产芯片与操作系统,提供高性能、低延迟的分布式缓存方案,尤其适合政企、金融及AI场景的向量检索与高并发需求,助力国产中间件实现技术超越。
云服务器CPU占用率异常高达99%-100%,经排查发现kswapd0进程异常活跃且存在可疑网络连接。通过分析发现一个伪装成内核线程的恶意进程(PID 2757083)通过memfd加载恶意代码,并与外部IP建立连接。该进程疑似利用Redis服务漏洞入侵,在/tmp目录驻留并建立恶意通信。解决方案包括立即终止该进程,并修改Redis配置仅监听本地回环地址(127.0.0.1)以加强防护。最后需重启
在后端开发中,MySQL + Redis是最经典、使用率最高的数据库组合。MySQL 负责数据持久化存储,Redis 承担热点数据缓存,极大提升项目接口响应速度。很多新手在服务器部署环境时,经常遇到软件安装失败、无法远程连接、命令遗忘、配置出错等问题。今天这篇博客,手把手带大家在 Linux 服务器下完成 MySQL、Redis 的安装、配置、开机自启、基础命令操作,附带生产常用场景,开箱即用。1
Redis线程模型演进解析 Redis的线程模型经历了从单线程到多线程的演进过程: 早期版本(3.x)采用纯单线程架构,所有操作由主线程顺序执行,优势在于避免锁竞争和上下文切换,性能瓶颈主要在内存和网络IO。 4.x版本引入异步删除等有限多线程特性,但核心读写仍保持单线程,解决了大key删除导致的阻塞问题。 6.0+版本实现真正的多线程IO,采用主线程+IO工作线程的混合模式: 主线程处理命令执行
Redisson是Redis的一个java客户端,主要提供了分布式锁的实现。其在提供了redis基本操作的同时,还具备其他客户端一些不具备的高精功能,例如:分布式锁+看门狗、分布式限流、远程调用等等。Reddissin的缺点是api抽象,学习成本高。
在多线程环境中,为了控制线程对资源并发访问和竞争,我们经常需要用到锁来进行控制。常用的锁例如 Java 自带的等。但这些锁只能用于单机系统中,如果涉及到多机器、多节点的分布式环境的资源竞争,就需要使用分布式锁了。
redis提供了复制(replication)的功能,通过"主从(一主多从)"和"集群(多主多从)"的方式对redis的服务进行水平扩展,用多台redis服务器共同构建一个高可用的redis服务系统。如何实现主从服务器之间的数据复制同步?
方案优点缺点适用场景SETNX基础版实现简单无续期、不可重入学习测试手动Lua脚本原子操作功能单一简单场景Redisson功能完善、自动续期、可重入引入依赖生产环境首选。
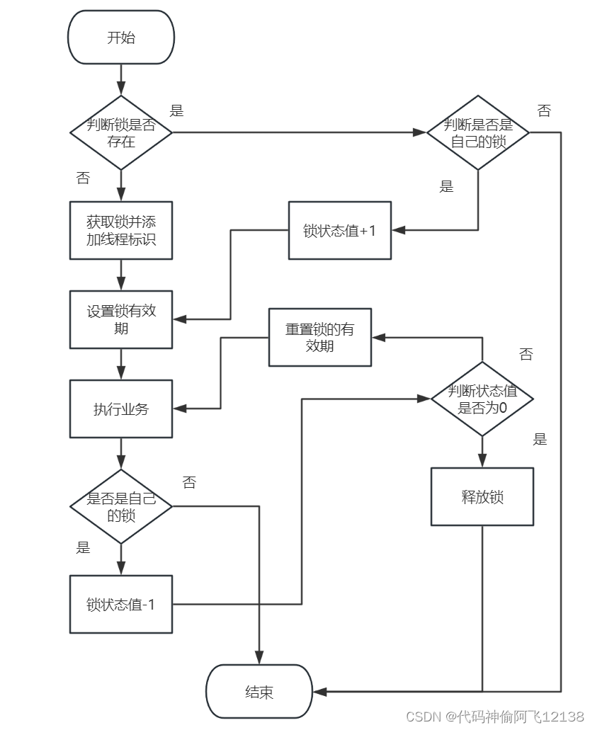
然而,这两个命令并不是原子的,如果SETNX成功但EXPIRE失败,就可能导致死锁。Redis作为一个高性能的内存数据库,提供了多种机制来实现分布式锁,本文将详细介绍如何使用Redis实现分布式锁。释放锁操作需要确保只释放自己持有的锁,以防止误删其他客户端的锁。为了确保操作的原子性,可以使用Lua脚本来实现。为了确保加锁和释放锁的原子性,可以使用Lua脚本将多个Redis命令打包成一个原子操作。为
Redis分布式限流利用Redis单线程原子性、高性能和共享存储特性,提供计数型(固定/滑动窗口)和令牌桶型两种核心方案,适用于接口限流、资源保护、业务防刷等场景。生产环境推荐Lua脚本实现原子化操作,或使用Redisson组件,前者适合自定义限流规则,后者内置令牌桶等高级算法。关键优势在于解决分布式系统全局控速问题,避免单机限流统计不一致。
面试官:Redis分布式锁如何实现?候选人:在redis中提供了一个命令setnx(SET if not exists)由于redis是单线程的,用了命令之后,只能有一个客户端对某一个key设置值,在没有过期或者删除key的时候是其他客户端不能设置这个key的面试官:好的,那你如何控制Redis实现分布式锁的有效时长呢?候选人:嗯,的确,redis的setnx指令不好控制这个问题,我们当时采用的r
缓存穿透(查询不存在数据)指的是查询一个根本不存在的数据,由于缓存中没有这个数据,所以每次请求都会穿透缓存层,直接访问数据库。)是指在大量的key设置了相同的过期时间,导致在缓存在同一时刻全部失效,造成瞬时DB请求量大、压力骤增,引起雪崩。)指的是当某个热点数据在缓存中过期时,大量的请求直接打到了数据库上,导致数据库压力骤增的情况。1、缓存击穿是什么以及解决方案。2、缓存雪崩是什么以及解决方案。3
Tendis是一款完全兼容Redis协议的分布式存储系统。它采用RocksDB作为存储引擎,所有数据都通过RocksDB存储到磁盘上,从而支持远超内存的存储容量,并大幅降低用户的存储成本。同时,Tendis支持使用Redis客户端进行访问,应用程序几乎无需修改即可无缝迁移至Tendis平台。Tendis作为一款高性能的分布式存储系统,凭借其强大的功能和出色的性能,已经在大规模数据存储、高并发请求处
对四种限流算法进行了分布式实现,采用了非常好用的Redission客户端,当然我们也有不完善的地方:并发处理采用了分布式锁,高并发情况下,对性能有一定损耗,逻辑最好还是直接采用Lua脚本实现,来提高性能可以提供更加优雅的调用方式,比如利用aop实现注解式调用,代码设计也可以更加优雅,继承体系可以完善一下没有实现限流的拒绝策略,比如抛异常、缓存、丢进MQ打散……限流是一种方法,最终的目的还是尽可能保
Spring Session是什么?解决了什么问题?Spring Session是Spring系列的一个子项目,是Spring对Session的一个基础框架封装。谈到Session(会话),session数据保存在服务端,我们对他并不陌生,比如在日常的Java Web开发中,最基本的登录信息等,都会存储到Session,存储方式是键值对。但是,随着现在架构、服务等技术的演变,单机应用已不能满足需要
Redis+Lua脚本实现分布式锁
通常我们习惯使用数据库的自增字段来作为ID,但是,这种方式生成的ID规律性强,安全性较低,容易被人猜测出来。并且在数据很多的时候,往往需要对数据库进行分库分表操作,这种ID生成方式加大了分库分表的复杂度,因此生成一些要求安全性高,唯一性高的ID时,不采用数据库自动生成的方式。全局唯一ID在开发中的应用很多,特别是在生成一些诸如订单编号,对ID的唯一性,安全性,高可用性,生成的高效性有严格的要求。这
推荐场景需要分布式锁机制(如秒杀系统)分布式数据共享需求(如全局配置)高并发计数统计(如实时在线人数)延迟任务处理(如订单超时关闭)学习路线掌握基本锁的使用学习分布式集合操作了解集群部署方案研究性能优化策略TIP:本文代码基于Spring Boot 3.x + Redisson 3.23.x,建议使用Redisson官方控制台进行监控。
来解决,他的基本思路就是通过改用多个独立的redis服务器或者redis Cluster集群,在客户端获取锁时先计算当前时间,然后设置过期时间,并取其中比如几十毫秒用作获取锁的过期时间,在获取锁时会依次向独立服务器获取,如果过半数获取成功,并且获取时间小于设定的过期时间,那么获取成功,否则获取失败,无论成功与否最后会向所有redis服务器或者集群解除锁。另外redis普通分布式锁需要自己加唯一标识
Redis分布式锁通过看门狗机制解决锁过期问题。当客户端获取锁后,会启动一个后台线程定期检查并续期锁,防止业务未完成时锁自动释放。Redisson实现了这一机制:通过Lua脚本原子性操作锁,每10秒续期一次(默认30秒过期)。客户端正常释放锁时会停止看门狗,异常崩溃时锁会自然过期避免死锁。该机制提高了锁的可靠性,但会增加Redis负载且不适用于强一致性场景。实际应用中需权衡安全性、可用性和性能。
在讲分布式锁之呢,我们不妨先来说说什么是分布式系统。在系统早期,用户量少,可能我们一个app的所有模块都存在与一个应用包,部署在一台机器上,这便是我们的单体应用架构。这种设计,如果用户访问量大,便很容易造成系统压力过大而导致的系统宕机,其次如果一个模块,比如支付功能bug或其他原因,便直接导致整个系统瘫痪。为解决这个问题,可能会想到我们的集群部署。集群部署配合配合负载均衡(负载算法),可...
本文深入探讨Redis分布式锁的实现原理与最佳实践。文章首先分析分布式系统中传统锁机制的局限性,指出Redis分布式锁的优势。随后详细讲解从基本SETNX命令到改进版SET NX EX原子操作的演进过程,强调设置唯一值和过期时间的重要性。重点剖析释放锁时必须使用Lua脚本的原因,以解决竞态条件和误删问题。对Redlock算法进行客观评价,指出其潜在缺陷。最后提供最佳实践建议,包括合理设置过期时间、
root@CombCloud-2020110836 src]# ./redis-cli info | grep rdb_changes_since_last_saverdb_changes_since_last_save:0# 自最后一次持久化以来数据库的更改数。当出现百 MB,甚至 GB 级别的 swap 大小时,就表明,此时,Redis 实例的内存压力很大,很有可能会变慢。由于超出最大连接数限
本文全面介绍了Redis在现代互联网架构中的核心应用,从基础原理到高级功能实现。首先解析Redis的核心特性:单线程模型、持久化机制和内存淘汰策略。随后详细讲解九大数据结构的实战应用,包括String、Hash、List等基础类型及Bitmap、HyperLogLog等高级类型。重点探讨生产环境中的关键问题解决方案:分布式锁实现、Lua脚本原子操作、缓存穿透/击穿/雪崩的应对策略。最后提供Redi
最近看里的 Agent 上下文组装逻辑时,我注意到一个很容易被忽略、但实际上很影响稳定性的细节:上下文预算不是“按优先级从前往后塞满”就完了,而是要主动给后面的必需片段留位置。这件事听起来有点细,但我觉得它比“多截断一点文本”重要得多。因为 Agent 的上下文不是普通的字符串拼接,它背后是一次有顺序、有层次的决策输入。如果前面的高优先级内容把预算吃光,后面本该保底出现的信息直接消失,模型拿到的就
本文探讨了分布式系统中单机锁的局限性及解决方案。在集群环境下,传统synchronized锁失效,因为不同JVM的锁监视器相互独立。作者提出使用Redis实现分布式锁,通过SETNX命令确保多服务器间互斥访问共享资源。文章详细分析了锁自动拆箱的NPE风险、动态锁名的实现方式,以及try-finally确保锁释放的重要性。最后展示了如何在订单业务中应用Redis分布式锁,强调正确释放锁避免死锁的关键
langchain4j vs springAIhttps://spring.io/projects/spring-ai#learn首先我们先创建一个SpringBoot项目,需要添加Spring Web依赖和OpenAI依赖创建完后会发现加入了依赖:接着 我们需要在application.properties中添加如下配置,我所使用的是千问的开源模型qwen3然后我们在项目包下创建一个子包cont
Redis在AI服务中的核心应用包括:缓存大模型对话历史、存储Embedding向量、管理热点数据和接口限流。通过设置TTL实现自动数据清理,既节省内存又保证时效性。实战示例展示了Redis与FastAPI的集成方案:1)对话系统缓存问答结果;2)用户信息查询优先读取Redis缓存;3)采用哈希结构存储结构化数据。关键技术点包括:惰性删除机制减少性能损耗、MD5生成缓存键名、组合使用内存与持久化存
Redis是高性能键值数据库,被称为“缓存之王”,广泛应用于后端开发。本文系统讲解Redis核心知识,包括:1)基础特性:内存存储、单线程模型、丰富数据结构;2)5种核心数据类型及应用场景;3)高频面试题解析:单线程高效原因、缓存一致性问题、分布式锁实现等;4)实战优化:热key处理、大key拆分、持久化配置等。文章涵盖Redis从基础到高级的内容,兼顾学习与面试需求,帮助开发者全面掌握这一必备中
Redis(Remote Dictionary Server)是一款开源的高性能内存数据结构存储系统,广泛用作缓存、消息队列、会话存储和实时分析引擎。其核心优势在于极致的读写性能、丰富的数据类型支持以及灵活的高可用与扩展架构。本指南基于对核心知识点的系统梳理,全面覆盖从基础原理到高级运维的完整技术体系。为帮助读者快速建立认知框架,本文将Redis知识体系划分为与:涵盖数据类型、编码实现与对象系统。
Redis作为高性能内存数据库,其核心机制包括:1)基于epoll多路复用的网络模型,通过红黑树管理FD实现高效事件监听;2)智能内存管理,包括过期Key处理和内存淘汰策略。epoll采用事件驱动模式,相比select/poll减少了FD拷贝和遍历开销,支持百万级并发连接。Redis通过回调机制实现高效IO处理,数据就绪时直接通知用户空间,避免无效等待。内存管理方面,Redis采用定期删除+惰性删
Redis 是完全开源的,遵守 BSD 协议,是一个高性能的 key-value 数据库。 Redis 与其他 key - value 缓存产品有以下三个特点:1:Redis支持数据的持久化,可以将内存中的数据保存在磁盘中,重启的时候可以再次加载进行使用。2:Redis不仅仅支持简单的key-value类型的数据,同时还提供list,set,zset,hash等数据结构的存 储。3:Redis支持
redis
——redis
联系我们(工作时间:8:30-22:00)
400-660-0108 kefu@csdn.net