
简介
该用户还未填写简介
擅长的技术栈
可提供的服务
暂无可提供的服务
驾驶员用户模块:账号登录认证。管理个人资料信息,修改可修改的信息项。车辆出入记录查询,同时查看历史已出入的记录。还车记录查询,同时查看历史已有还车的记录。管理员模块:维护普通用户,审核普通用户的账号,可以冻结普通用户的登录权限,或者删除普通用户账号。发布车辆管理,并可以销毁某个车辆信息,更新车辆数据,模糊搜索车辆数据等。发布出车记录,并可以销毁某个出车记录数据,更新出车记录数据,模糊搜索出车记录数

停车场管理系统我划分为了停车用户管理模块和管理员模块这两大部分。停车用户端:(1)注册登录:当用户想要对系统中所实现的功能进行查询管理的时候,就必须进行登录到系统当中,如果没有账号的话,在登录界面,点击“注册”按钮就会跳转到注册的界面,根据提示填写好注册信息,添加提交,用户的信息在数据库中就添加完成了,然后再输入填写好的账号和密码进行登录;(2)停车位信息:点击“停车位信息”这个按钮可以查看到所有

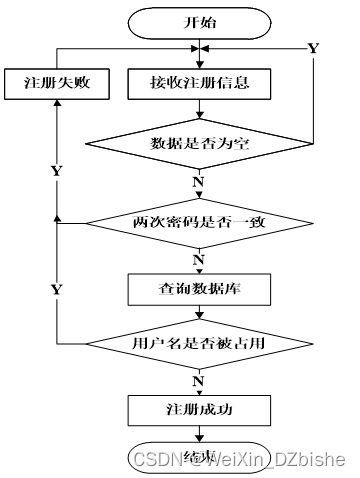
普通用户管理模块:(1)用户注册登录:用户注册为用户并登录新闻管理系统;用户对个人信息的增删改查,比如个人资料,密码修改。(2)查看新闻管理系统的首页信息:新闻管理系统的首页信息包含了首页、公告消息、交流论坛、新闻资讯、意见反馈、视频分享等。(3)公告:用户在公告这一菜单下对用户提交的查看、同时也可以发布、评论。(4)新闻资讯:用户进行新闻资讯的阅览,查看管理者发布的新闻资讯信息。(5)我的收藏:

毕业生跟踪调查管理系统主要功能模块包括系统首页、站点管理(轮播图、公告栏)用户管理(管理员、普通用户)内容管理(毕业生论坛、论坛分类列表、毕业生资讯、资讯分类列表)更多管理(就业调查分析),采取面对对象的开发模式进行软件的开发和硬体的架设,能很好的满足实际使用的需求,完善了对应的软体架设以及程序编码的工作,采取MySQL作为后台数据的主要存储单元,采用springboot框架、java技术、Aja
