java-springboot基于Java Web的交友系统 SpringBoot+Vue 在线缘分匹配与即时聊天平台 基于Java的Web轻社交暨论坛互动系统计算机毕业设计
摘要: 本文介绍了一个基于JavaWeb的SpringBoot交友系统,包含用户注册、即时聊天、论坛互动等核心功能。系统采用Vue前端+SpringBoot后端+MySQL数据库架构,实现滑动匹配、WebSocket实时通讯、话题广场等功能模块。技术层面分析了JAVA技术的可行性,系统具备用户管理、好友互动、内容审核等完整流程。项目作为毕业设计开发,包含详细的系统分析、设计及实现过程,配套源码可分
java-springboot基于Java Web的交友系统93523h69计算机毕业设计(配套有源码 程序 mysql数据库 论文)
本套源码可以在文本联xi,先看具体系统功能演示视频领取,可分享源码参考。
QQ“偷菜”时代远去,Z世代却渴望“秒回”与“同频”。传统婚恋网站流程重、收费高,短视频平台又太喧嚣,一条动态瞬间被算法淹没。SpringBoot+MySQL把“注册—匹配—聊天—互动”浓缩成一条代码链路:前端Vue实时渲染,滑动卡片即刻完成兴趣标签碰撞;WebSocket私信0延迟,图片、表情包秒发秒收;论坛广场支持#深夜树洞#、#游戏开黑#等话题,帖子可置顶、点赞、踩、收藏,让用户既能快速破冰,也能深度交流。
系统一口气实现的功能全部列完:
用户注册登录、短信验证码、头像/昵称/性别/个性签名/手机号维护、密码找回;
好友申请、同意/拒绝、拉黑、备注、好友列表实时检索;
即时文字/图片聊天、消息已读未读、单聊记录持久化;
论坛交流(发帖、回帖、楼主标识、置顶、点赞/踩、收藏、分类筛选、关键词搜索);
公告信息分类与发布、点击统计、轮播图、系统简介、关于我们;
个人中心(修改密码、我的发布、我的收藏、我的好友、聊天记录);
后台用户管理、论坛内容审核、公告与配置维护、token自动续期、数据备份与恢复。
一句话总结:把“滑动匹配—即时聊天—话题广场”装进同一套系统,扫码即可开聊,数据实时沉淀,让相遇从“你好”到“出来玩”只需三秒。
注:以上是纯课题毕业设计功能介绍,并非实际开发完成,最终开发完成的毕业设计程序以下面的的环境软件、功能图和界面为准。
系统所需要的环境软件:idea、eclipse+mysql5.7、8.0+Navicat+JDK1.8+tomcat7.0
第三章 系统分析
3.1项目需求分析
本系统项目需求如下:
- 使得管理本系统的信息传递可以达到完整不缺失、便捷、高效。
- 降低后期保障程序长久运行的工作人员的工作复杂度,提高系统寿命。
- 系统一经上线后,可快捷查找到所需信息及实现高效信息管理等。
- 通过网络运行,提高解决问题的效率和提高用户的使用率。
- 为了满足不同的用户需求,需要使用简洁的接口,操作简便。
- 系统运行平稳,具有实用性和通用性,适合大多数人使用。
3.2 系统可行性分析
本系统可行性分析主要从技术可行性、经济可行性和操作可行性等方面进行分析,以及对系统的应用前景进行预测,判断软件开发项目的实现是否可行。
3.2.1 技术可行性
本系统采用JAVA技术,通过大学四年,开发技术已基本掌握,所需软件资源都是免费的,相关的开发工具,开发环境都可以在网上下载,环境搭建简单,硬件资源只需要一台个人电脑,即可以完成开发的全过程,因此在技术上,软、硬件资源需求上都已经满足开发要求,技术上是可行的。
3.2.2 操作可行性
本系统功能比较完善,界面友好,操作简单,采用常见的界面窗口来操作界面,本系统主要通过网页进行访问,易操作、易管理、交互性好,只要具备基本的计算机知识,会常规的电脑操作,就能很快上手,短时间就能对本系统的使用达到很熟练的程度,符合操作可行性。
3.2.3 经济可行性
系统开发主要由自己完成,系统开发使用的开发工具和开发环境都可以自己下载搭建,硬件资源,软件资源都是免费的,不需要花钱去买;开发使用自己的电脑设备完成,没有额外投资,另外系统具有友好的人机交互界面,使用简单,操作方便,只要掌握常规的电脑操作就能使用,不需要聘请专业人士来管理系统,省去了聘请人员管理系统的费用,因此该系统的开发和运营维护成本低。
3.3系统用例分析
本系统分为管理员和用户两大模块,管理员的权利是最大的,可以对系统所有功能进行管理;其次是用户;用例分别如下所示:

图3-1 管理员用例图

图3-2 用户用例图
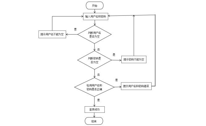
3.4系统流程分析
本系统登录流程图,如图3-3所示。

图3-3 登录流程图
本系统添加信息流程图,如图3-4所示。

图3-4 添加信息流程图
第四章 系统设计
4.1系统功能及工作原理设计
设计这个管理系统能使用户实现不需出门就可以在电脑前进行个人信息修改,对系统功能进行有效管理。
本系统由管理员和用户两大模块组成。通过数据交互与数据传输实现本系统的所有功能。
管理员登录进入系统直接管理个人中心、用户、论坛交流、系统管理等信息。本网站模块设计的独立性强,用户体验良好、后期维护修改管理十分方便。
用户模块的主要设计是:在登陆成功后,本系统实现对个人中心、修改密码、好友列表、聊天记录、用户、我的发布、我的收藏等功能进行详细操作;
本系统是以网络业务模式为基础的,适合于互联网的应用。只要能连接到互联网,就可以不受到时间和地点的限制,随便来使用本交友系统。交友系统工作原理图,如图4-1所示。

图4-1 系统工作原理图
4.2程序结构图
本系统登录结构图,如图4-2所示。

图4-2 登录结构图
系统分成四个角色,根据每个角色的权限分析得出四大模块,包括管理员模块和用户模块;管理员模块主要针对整个系统的管理进行设计,提高了管理的效率和标准。系统的总体模块功能设计如下图所示:。

图4-3 系统总体功能结构图
4.3数据库的设计
所有的网站设计都离不开数据库,数据库是所有项目实现如数据采集、数据传输等功能的基石。只有合理的数据库设计才能满足商业化的要求,主键外键数据库的连接方式尤为重要,尽量避免多对多的复杂性,字段命名合理标准,且易于理解,字段应根据业务设置,不允许操作字段而对系统有额外的占用内存。
4.3.1数据库实体及属性
本交友的E-R图描述了在系统中各个实体之间的联系,以下将对“用户、论坛交流、公告信息、系统简介、关于我们、收藏”等作为实体,它们的局部E-R图,如图4-4所示:

图4-4局部E-R图
第五章 系统的实现
5.1前台功能实现
5.1.1系统首页页面
当人们打开系统的网址后,首先看到的就是首页界面。在这里,人们能够看到系统的导航条,通过导航条导航进入各功能展示页面进行操作。系统首页界面如图5-1所示:

图5-1 系统首页界面
在注册流程中,用户在Vue前端填写必要信息(如用户名、密码等)并提交。前端将这些信息通过HTTP请求发送到Java后端。后端处理这些信息,检查用户名是否唯一,并将新用户数据存入MySQL数据库。完成后,后端向前端发送注册成功的确认,前端随后通知用户完成注册。这个过程实现了新用户的数据收集、验证和存储。注册页面如图5-2所示:

图5-2注册页面
论坛交流:在论坛交流页面的输入栏中输入标题进行查询或发布帖子,可以查看到论坛交流详细信息,并根据需要进行点赞或评论操作;论坛交流页面如图如图5-3所示:

图5-3论坛交流详细页面
5.1.2个人中心
个人中心:在个人中心页面可以对个人中心、修改密码、好友列表、聊天记录、用户、我的发布、我的收藏进行详细操作;如图5-4所示:

图5-4个人中心界面
5.2后台模块实现
在登录流程中,用户首先在Vue前端界面输入用户名和密码。这些信息通过HTTP请求发送到Java后端。后端接收请求,通过与MySQL数据库交互验证用户凭证。如果认证成功,后端返回给前端,允许用户访问系统。这个过程涵盖了从用户输入到系统验证和响应的全过程。后台登录界面图5-5所示。

图5-5 后台登录界面
5.2.1管理员功能实现
管理员进入主页面,主要功能包括对个人中心、用户、论坛交流、系统管理等进行操作。管理员主页面如图5-6所示:

图5-6管理员主界面
管理员点击用户。进入用户页面输入账号可以查询、添加或删除用户信息,并进行查看、修改或删除等操作。用户界面如图5-7所示;

图5-7用户界面
系统管理功能在视图层(view层)进行交互,比如点击“查询、添加或删除”按钮或填写系统管理的公告信息表单。这些系统管理表单动作被视图层捕获并作为请求发送给相应的控制器层(controller层)。控制器接收到这些请求后,调用服务层(service层)以执行相关的业务逻辑,例如验证输入数据的有效性和与数据库的交互。服务层处理完这些逻辑后,进一步与数据访问对象层(DAO层)交互,后者负责具体的数据操作如查看、修改或删除系统管理的公告信息,并将操作结果返回给控制器。最终,控制器根据这些结果更新视图层,以便系统管理功能可以看到最新的信息或相应的操作反馈。系统管理界面如图5-8所示;

图5-8系统管理界面
论坛交流功能在视图层(view层)进行交互,比如点击“查询、添加或删除”按钮或填写论坛交流表单。这些论坛交流表单动作被视图层捕获并作为请求发送给相应的控制器层(controller层)。控制器接收到这些请求后,调用服务层(service层)以执行相关的业务逻辑,例如验证输入数据的有效性和与数据库的交互。服务层处理完这些逻辑后,进一步与数据访问对象层(DAO层)交互,后者负责具体的数据操作如查看、修改、查看评论或删除论坛交流信息,并将操作结果返回给控制器。最终,控制器根据这些结果更新视图层,以便论坛交流功能可以看到最新的信息或相应的操作反馈。论坛交流界面如图5-9所示;

图5-9论坛交流界面
源码无偿分享,文未领取
更多推荐



所有评论(0)