
简介
该用户还未填写简介
擅长的技术栈
可提供的服务
暂无可提供的服务
面临的问题及挑战数据中心发展历程2000 年中国数据中心始建,至今已经历以下 3 大阶段。早期:离散型数据中心 IT 因以项目建设为导向,故缺乏规划且无专门运维管理体系,此外,开发建设完的项目均是独立运维维护,因此效率低下。中期:各行各业进行了应用大集中,逐步按照标准化体系建设了生产中心、灾备中心,且引入 “两第三中心” 的模式。此外,该阶段开始有了系统规范的运维体系,具有代表性的建立了 IT 服
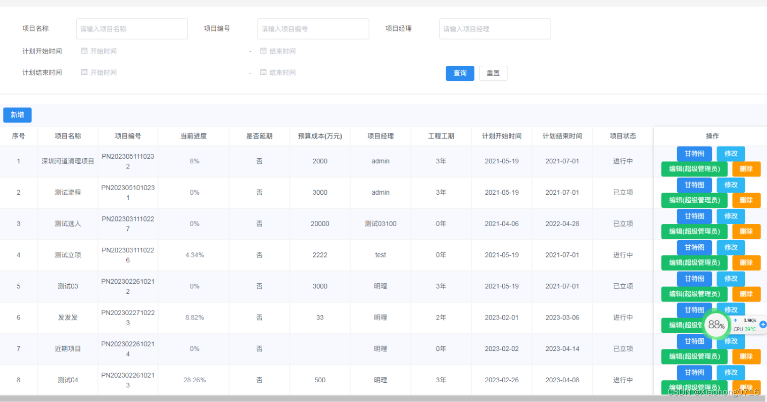
项目经理、计划开始时间、计划结束时间等信息,可以进行终止和导出操作。1、项目列表:实现对项目列表的增删改查操作,包括查看各项目的立项人、创建时间、2、项目计划管理:项目计划查看和管理模块,可执行增删改查操作,包括查看甘特图。3、收支报表:项目收支报表,包含总体收支、项目收支和收支统计模块。4、资金计划:实现各项目资金计划的详情查看及其增删改和导出操作。1、项目汇总:项目汇总信息查看,包括进度、计划
为了提升采购效率,确保采购过程的透明性和公正性,企业需要一个高效、规范的电子招标采购系统。鸿鹄电子招投标系统致力于构建一个公平、公开、公正的采购环境,通过电子化平台,企业能够更好地控制采购成本,并确保符合国家电子招投标法律法规及相关规范。该系统通过电子化招投标,提高了招标采购的质量和速度,同时节约了招标成本,提升了企业的资金节约率。总的来说,这个系统是一个全面、高效的电子招标采购解决方案,它能够帮

我们的招投标管理系统正是为此而生,它集门户管理、立项管理、采购项目管理、公告管理、考核管理、报表管理、评审管理、企业管理、采购管理和系统管理等多功能于一体,为招标代理、政 府采购、企业采购和工程交易等业务提供一站式解决方案。采购项目管理:覆盖采购过程的全流程,包括评审人员选取、基准价维护、供应商缴费审核等,确保采购过程的透明和高 效。采购公告管理:支持对采购全过程所需发布的公告进行管理,确保信息的

该系统以Spring Cloud Alibaba、Spring Boot、MybatisPlus、Redis等前沿技术为支撑,结合VUE3和ElementUI前端框架,构建了一个灵活、高 效、安全的微服务架构平台。同时,系统采用Spring Cloud Alibaba技术栈,支持服务的注册与发现、负载均衡、熔断降级等功能,确保系统的稳定性和可扩展性。通过集成销售、采购、库存、产品、财务等多个核心模

这是一篇概括性的综述类文章,可能并没有很多的干货,当然也限于 “一灰灰” 我个人的能力,上面的总结可能并不准确,如有发现,请不吝赐教全文总结如下主备,主从,多主多从,普通无中心集群,数据分片架构共识算法:paxos, raft, zab一致性协议:2pc, 3pc数据同步:gossip分区的一致性 hash 算法:基于 hash 环,减少节点动态增加减少对整个集群的影响;适用于数据分片的场景适用于

主要功能包含:招标公告管理、变更公告管理、终止公告管理、中标候选人公告管理、中标公告管理、采购公告管理、采购结果公告管理、单一来源采购结果公告管理。涉及技术:Eureka、Config、Zuul、OAuth2、Security、OSS、Turbine、Zipkin、Feign、Monitor、Stream、ElasticSearch等。主要功能包含:公告模板管理、评审人员管理、第三方机构管理、供应

本CRM客户关系管理系统通过整合待办事项、线索、客户、联系人、商机、合同、回款等多个功能模块,为企业提供了一套全 面、高 效的客户关系管理解决方案。系统采用先进的技术架构和灵活的配置方式,能够满足企业不同层级的业务需求,帮助企业提升工作效率、增强客户满意度、促 进业务增长。本文旨在介绍一款先进的CRM客户关系管理系统的技术架构与功能实现,该系统通过整合多种功能模块,为企业提供全 面、高 效的客户关

2000 年中国数据中心始建,至今已经历以下 3 大阶段。早期:离散型数据中心 IT 因以项目建设为导向,故缺乏规划且无专门运维管理体系,此外,开发建设完的项目均是独立运维维护,因此效率低下。中期:各行各业进行了应用大集中,逐步按照标准化体系建设了生产中心、灾备中心,且引入 “两第三中心” 的模式。此外,该阶段开始有了系统规范的运维体系,具有代表性的建立了 IT 服务体系、监控体系等运维框架。另一
三、项目管理 1、项目列表:实现对项目列表的增删改查操作,包括查看各项目的立项人、创建时间、项目经理、计划开始时间、计划结束时间等信息,可以进行终止和导出操作 2、项目计划管理:项目计划查看和管理模块,可执行增删改查操作,包括查看甘特图 3、进度上报管理:项目进度上报模块,可上报任务或任务步骤进度 4、形象进度:形象进度管理 5、指引:项目指引详情。七、质量管理 1、中间验收:中间验收记录管理 2








