
简介
该用户还未填写简介
擅长的技术栈
可提供的服务
暂无可提供的服务
索尼Altair半导体公司通过引入Qoitech的Otii工具套件,成功解决了蜂窝物联网芯片组开发中的能效验证难题。作为全球领先的蜂窝物联网和图像感知AI供应商,Altair面临着测试设备昂贵、验证流程低效等挑战。Otii工具实现了三大突破:1)使每位工程师都能独立进行高精度功耗测量;2)大幅缩短产品验证周期;3)建立了与客户统一的测试标准,使现场问题复现率显著降低。这一创新不仅优化了ALT135

Otii软件3.6版本全新发布,针对低功耗设备开发推出多项实用功能升级。新版本支持多段录制片段自由保存与对比分析,优化了可折叠左侧工具栏设计,并新增多模式统计视图。录制文件信息展示更丰富,支持多许可证离线绑定同一设备,还新增外部日志导入功能。3.6版本同时加入了即时文字帮助功能,提升用户体验。用户可通过自动更新或官网下载获取最新版本,适用于Windows、macOS和Linux系统。

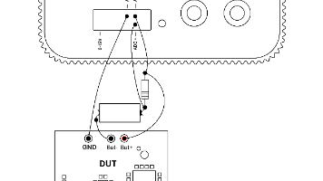
Otii差分测量配置指南:支持Arc/Ace仪器在不使用内部电源时进行电流电压测量,通过外部分流电阻实现。连接方法包括串联电阻、正确接线及软件设置,需注意电阻值选择。Qoitech公司推出的Otii方案已服务全球3500余家企业,专注于低功耗设计优化,广泛应用于半导体、物联网等领域。

在休眠/静置期间,电池将开始发生钝化。当进入工作模式时,这一效应将显现。钝化程度取决于静置时间的长短、温度以及电池的荷电状态。

在低功耗测量时通过实时调整物联网被测设备上的eDRX和PSM设置来优化其性能。还可进一步通过脚本实现自动化。该Python脚本可在Qoitech的GitHub上获取。

通过针对特定场景和环境的物联网电池测试,而非仅仅根据电池数据手册,对于确保物联网产品和服务的长期稳定性至关重要。本场景提供了一种高效且可扩展的方案,用于对进货电池进行检测,对不同批次和品牌进行基准测试,从而提高最终产品的可靠性。设备,使用简单的同时,功能十分强大。








