
简介
该用户还未填写简介
擅长的技术栈
可提供的服务
暂无可提供的服务
四方杰芯FSW3410是一款专为高速差分信号设计的双通道2:1/1:2无源开关芯片,支持USB3.1 Gen2(10Gbps)协议。该芯片具有11GHz超宽带宽、-40dB高隔离度、低于2mW超低功耗等优势,采用QFN-18L小型封装(2.8×2.0mm),支持1.5-5.5V宽电压供电。通过EN/SEL引脚实现智能通道切换,内置2kV ESD防护,适用于USB Type-C、服务器背板、PCIe

摘要:本文介绍国产HXSD04G-HLK5 SDNAND芯片特性与应用。该4Gb容量芯片采用LGA8封装(8×6.2mm),兼容标准SD/SPI协议,支持1/4位模式及50MHz时钟。内置硬件ECC,工作温度-30℃~85℃,3.3V供电,外围电路简单。详细解析了引脚定义、电气参数、封装尺寸及PCB设计要点,特别适合物联网、工控、消费电子等需要板载存储的场景。相比传统SD卡,具有体积小、抗震强、可

四方杰芯FSW6860是一款创新的5通道高速差分2:1 Mux/DeMux+2路低速音频级SPDT复合开关芯片。该产品将5路高速差分通道和2路独立SPDT低速通道集成于单芯片,支持USB3.1 Gen1/Type-C、PCIe等高速信号与音频/控制信号同步切换。其关键特性包括:7.5GHz高速通道带宽、-80dB超低谐波失真、6.5Ω导通电阻,工作功耗<2mW。该方案可替代多颗分立器件,显著

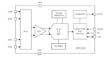
士模CM1103与TI ADS1115均为16位I²C接口ΔΣ ADC,功能兼容但CM1103在关键性能上有显著提升。CM1103采样率高达2kSPS(比ADS1115提升133%),支持4路差分输入(ADS1115仅2路),并通过AEC-Q100车规认证,特别适合汽车电子应用。虽然ADS1115在连续模式功耗略低且支持2V供电,但CM1103在单次模式功耗表现优异,且完全兼容原设计,可直接替换。

摘要:HXSD16G-AL3E是16Gb工业级SDNAND芯片,采用LGA8封装(8×6.2mm),兼容SD3.0/SPI双模式,支持50MHz时钟和Class8写入速度。具有硬件ECC纠错、-30~85℃宽温工作范围,3.3V单电源设计。适用于工业控制、物联网等嵌入式场景,提供抗震、省空间的SMT存储方案。包含详细引脚定义、电气参数和硬件设计指南,可直接用于产品开发。

BGS3506是博捷半导体推出的集成Type-C和PD功能的4端口USB2.0 HUB控制器。该芯片采用QFN32封装,支持100W快充输出,双Type-C口均支持PD3.1协议和DRP双角色功能。通过高度集成设计,内置稳压器、上下拉电阻等器件,显著减少外部元件需求。具备多重保护功能,支持5V供电下从22.45mW待机功耗到422.5mW满负载的动态功耗管理。适用于带快充功能的USB集线器和扩展坞

挂起状态为 3.35mA(16.75mW);规范的 CDP(充电下游端口)、DCP(专用充电端口)模式,同时兼容苹果 1A/2.1A/2.4A(分压模式)、三星 Galaxy 设备快充;,支持 USB3.2 U0-U3 和 USB2.0 L0-L2 低功耗状态,无主机连接时功耗极低,满负载传输时功耗线性上升,且功耗数据包含内置稳压器的转换损耗(不含充电功能和外部 GPIO 电流);配置,下拉禁用所

摘要:基石酷联GSV2702是一款高集成度HDMI2.0切换芯片,采用QFN88封装(10×10mm),支持4进1出信号切换。该芯片集成RISC-V MCU,具备18Gbps带宽,支持4K@60Hz HDR视频传输及VRR/FreeSync等游戏特性,兼容HDMI2.0b/1.4b协议和HDCP2.3。音频处理支持eARC回传、I2S/SPDIF双向转换和多格式音频处理。提供双MCU模式,既可通过

南京扬贺扬推出两款2Gb SLC型SPI NAND Flash存储器HYF2GQ4UAACAE(LCC6*8封装)和HYF2GQ4UADCAE(TFBGA24封装)。这两款产品面向嵌入式系统,具有256MB存储容量和16MB OOB区,支持2K+128字节页容量和64页/块结构。器件提供标准SPI、双SPI和四SPI模式,最高工作频率80MHz,内置14bit/512B ECC纠错功能。支持块保护

LT6911UXE是龙迅半导体推出的高性能HDMI转MIPI转换器,支持4K@60Hz视频和8通道音频传输,适用于VR、智能手机及显示设备。该芯片具备HDMI2.0/MIPI DSI/CSI双协议兼容,最大带宽20Gbps,支持HDR显示、3D影像及数据加密功能。内置处理器和闪存,提供RGB/YUV色彩转换,工作温度范围-40℃至85℃。采用QFN64封装,最小包装2600片/托盘。








