vue项目--疫情动态实时播报
在学习了vue的相关知识后,便做了一个名为“疫情动态实时播报”的小项目下面是最后做完之后的一些主要的界面:头部,简介,内容,现在让我们从0开始正式进入项目吧!!!涉及知识点:vue基础知识vue-routeraxiosvantEcharts前期准备:1.创建项目,首先,在命令行工具中进入到你要创建项目的位置,通过 vue create xxx 创建vue项目然后,选择最后一项...
在学习了vue的相关知识后,便做了一个名为“疫情动态实时播报”的小案例
下面是最后做完之后的一些主要的界面:
头部,

简介,

内容,








现在让我们从0开始正式进入项目吧!!!
0.涉及知识点:
- vue基础知识
- vue-router
- axios
- vant
- Echarts
0.前期准备:
a.创建项目
首先,在命令行工具中进入到你要创建项目的位置,通过 vue create xxx 创建vue项目
然后,选择最后一项:vue-covid19

其次,回车后选择:

其次,回车, 选择 n,也就是mode为hash

其次,回车,选择默认再回车即可

最后,选择 n,不保存,即可

等待项目创建,出现如下则项目创建完成

b.整理修改项目
项目创建完成后,删除一些不用的东西,例如HelloWorld.vue以及About.vue并删除与之相关的配置,最后项目结构物大致如下:

在assets文件夹下新建css文件夹,用来存放初始化的css文件,并在main.js文件里引入css的初始化文件

import "./assets/css/common.css"
由于本项目的所有数据都是来源于网络请求,因此需要通过 npm install axios --save 命令安装 axios
c.运行项目
通过 npm run serve 在集成终端中运行该项目(VSCode)
![]()

d.素材准备
将头部导航需要用到的图片复制到assets目录下

e.项目分模块
在本项目中采用的组件化思想,例如头部导航、疫情数据、疫情地图...都是一个模块,因此我们将每个模块都做成一个独立的组件
对于该项目来说不是特别大,因此在这里我们将独立的组件都放在components里
例如,在components新建一个头部组件 Header.vue,并在 Home.vue 里引入:
注:本项目中用到的接口都是一些开源接口,可到 聚合数据 和 天行数据 获取
下面正式开始项目!!!
1.头部导航实现
a.在 src/components目录下新建 Header.vue 文件并进行相关设置:
Header.vue
<template>
<div class="header">
<h3>头部</h3>
</div>
</template>
<style scoped>
.header{
width: 100%;
height: 0;
position: relative;
padding-top: 33.5%;
color: #fff;
font-size: 0.28rem;
text-align: center;
background: url("../assets/1.jpg") no-repeat;
background-size: cover;
}
</style>
然后在 src/views/Home.vue 里引入
src/views/Home.vue
<template>
<div>
<Header />
</div>
</template>
<script>
import Header from "../components/Header.vue"
export default {
name: 'Home',
components: {
Header
}
}
</script>
最后,效果如下:

到这里,头部导航就算是实现了
2.病毒信息渲染模块的实现
a.在 src 目录下新建一个名为 utils 的文件夹,用来存放网络请求所需的文件,并在该文件夹里新建一个名为 requst.js 的文件,进行如下配置:
request.js
import axios from "axios"
import qs from "querystring"
//处理错误信息的方法
const errorHandle = (status, info) => {
switch (status) {
case 400:
console.log("语义有误");
break;
case 401:
console.log("服务器认证失败");
break;
case 403:
console.log("服务器拒绝访问");
break;
case 404:
console.log("地址错误");
break;
case 500:
console.log("服务器遇到意外");
break;
case 502:
console.log("服务器无响应");
break;
default:
console.log(info);
break;
}
}
//创建实例
const instance = axios.create({
timeout: 5000,
//baseURL: "http://iwenwiki.com"
});
/**
* 拦截器
*/
//1.请求拦截
instance.interceptors.request.use(
config => {
//判断请求方式
if (config.method === "post") {
//数据转换
config.data = qs.stringify(config.data);
}
return config;
},
//请求失败
error => Promise.reject(error)
)
//2.响应拦截
instance.interceptors.response.use(
response => response.status === 200 ? Promise.resolve(response) : Promise.reject(response),
error => {
const { response } = error;
errorHandle(response.status, response.info);
}
)
//导出
export default instance;
b.在 src 目录下新建一个名为 api 的文件夹,用来存放所有网络请求所需的函数文件;并在该文件夹下分别新建名为base.js和index.js的文件
base.js--存放接口,
const base = {
baseUrl: "http://iwenwiki.com",
ncov: "/wapicovid19/ncov.php"
};
export default base;
index.js--存放接口请求方法,
c.在src/component目录下新建名为 Covid19Info.vue 的文件,并在src/views/Home.vue文件里引入和注入
src/views/Home.vue,
<template>
<div>
<Header />
<Covid19Info />
</div>
</template>
<script>
import Header from "../components/Header.vue"
import Covid19Info from "../components/Covid19Info.vue"
export default {
name: 'Home',
components: {
Header,
Covid19Info
}
}
</script>
src/component/Covid19Info.vue
<template>
<div class="info">
<p class="title">
<i></i>
病毒信息
</p>
<div class="content">
<p>{{ covid19Info.note1 }}</p>
<p>{{ covid19Info.note2 }}</p>
<p>{{ covid19Info.note3 }}</p>
<p>{{ covid19Info.remark1 }}</p>
<p>{{ covid19Info.remark2 }}</p>
<p>{{ covid19Info.remark3 }}</p>
</div>
</div>
</template>
<script>
import api from "../api"
export default {
data () {
return {
covid19Info:{}
}
},
mounted () {
api.getNcov({
key:"62e34ad34025d5d5127135efa58d4ca8"
}).then(res=>{
// console.log(res.data);
if(res.status === 200){
this.covid19Info = {
note1:res.data.newslist[0].desc.note1,
note2:res.data.newslist[0].desc.note2,
note3:res.data.newslist[0].desc.note3,
remark1:res.data.newslist[0].desc.remark1,
remark2:res.data.newslist[0].desc.remark2,
remark3:res.data.newslist[0].desc.remark3
}
}return;
}).catch(error=>{
console.log(error);
})
}
}
</script>
<style scoped>
.info{
padding: 0.16rem;
background: #fff;
border-bottom: 1px solid #f1f1f1;
}
.title{
font-size: 0.17rem;
}
.title i{
display: inline-block;
width: 0.04rem;
height: 0.16rem;
margin-right: 0.03rem;
vertical-align: middle;
background: #4169e2;
}
.content{
padding: 0.06rem 0.16rem;
}
.content p{
font-size: 13px;
margin: 5px 0;
}
</style>
最后效果如下:

3.疫情病例详情模块实现
i.该模块用到的接口还是病毒信息渲染模块的接口,在获取接口的时候没必要再重复一次:
- 因此我们需要将 Covid19Info.vue 文件里面的 网络请求api的引用以及 data(){} 和 mounted () {} 全部剪切放到父级(Home.vue)里
- 在子组件 Covid19Info.vue 文件里利用 props 进行处理接收父类传递过来的数据:
props: {
covid19Info:{
typeof:Object,
default:()=>{
return {}
}
}
}
ii.在src/components下新建CaseNum.vue视图结构,并完成相应的配置:

src/components/CaseNum.vue,
<template>
<div class="case-num">
<div class="container">
<div class="title">
<span>截止 {{}} 全国数据统计</span>
</div>
</div>
<div class="num">
<ul class="count">
<li class="create-item">
<div class="create-count">
<b>较昨日 <em style="color:rgb(247,76,49)"></em>{{}}</b>
</div>
<strong style="color:rgb(247,76,49)">{{}}</strong>
<span>现存确诊</span>
</li>
<li class="create-item">
<div class="create-count">
<b>较昨日 <em style="color:rgb(247, 130, 7)">+{{}}</em> </b>
</div>
<strong style="color:rgb(247, 130, 7)">{{}}</strong>
<span>累计确诊</span>
</li>
<li class="create-item">
<div class="create-count">
<b>较昨日 <em style="color:rgb(162, 90, 78)">+{{}}</em> </b>
</div>
<strong style="color:rgb(162, 90, 78)">{{}}</strong>
<span>累计境外输入</span>
</li>
<li class="create-item">
<div class="create-count">
<b>较昨日 <em style="color:rgb(174, 33, 44)">+{{}}</em> </b>
</div>
<strong style="color:rgb(174, 33, 44)">{{}}</strong>
<span>累计治愈</span>
</li>
<li class="create-item">
<div class="create-count">
<b>较昨日 <em style="color:rgb(93, 112, 146)">+{{}}</em> </b>
</div>
<strong style="color:rgb(93, 112, 146)">{{}}</strong>
<span>累计死亡</span>
</li>
<li class="create-item">
<div class="create-count">
<b>较昨日 <em style="color:rgb(40, 183, 163)">{{}}</em> </b>
</div>
<strong style="color:rgb(40, 183, 163)">{{}}</strong>
<span>现存无症状</span>
</li>
</ul>
</div>
</div>
</template>
<script>
export default {
}
</script>
<style scoped>
.case-num {
padding: 0.16rem;
background: #fff;
}
.container {
margin: -0.16rem 0 0;
font-size: 0.12rem;
}
.title {
display: flex;
align-items: center;
justify-content: space-between;
padding: 0.08rem 0 0.07rem;
line-height: 0.24rem;
}
.title span {
color: #666;
}
.title em {
display: flex;
align-items: center;
justify-content: space-between;
height: 0.24rem;
margin-right: -0.16rem;
padding: 0 0.08rem;
color: #666;
font-style: normal;
background-color: #f7f7f7;
border-radius: 0.12rem 0 0 0.12rem;
}
.title em img {
width: 0.123rem;
height: 0.123rem;
margin-right: 0.037rem;
}
.num {
position: relative;
text-align: center;
background: #fff;
}
.num::after {
position: absolute;
top: -0.01rem;
left: -0.01rem;
display: block;
width: 200%;
height: 200%;
border: 0.01rem solid #ebebeb;
border-radius: 0.08rem;
box-shadow: 0 0.04rem 0.12rem 0 rgba(0, 0, 0, 0.05);
transform: scale(0.5);
transform-origin: 0 0;
content: "";
}
.num ul {
flex-flow: wrap;
position: relative;
display: flex;
margin: 0;
padding: 0.08rem 0 0.12rem;
}
.num ul li {
position: relative;
z-index: 1;
display: flex;
flex-direction: column;
align-items: center;
justify-content: center;
box-sizing: border-box;
width: 33.3333333%;
margin: 10px 0;
}
.num ul li .create-item {
position: relative;
text-align: center;
}
.num ul li .create-item .create-count {
display: flex;
align-items: center;
height: 0.12rem;
margin-bottom: 0.02rem;
color: #666;
font-weight: 400;
font-size: 0.09rem;
}
.num ul li .create-item .create-count em {
font-weight: 400;
font-style: normal;
}
.num ul li strong {
margin-bottom: 0.01rem;
font-weight: 700;
font-size: 0.2rem;
line-height: 0.25rem;
}
.num ul li span {
display: block;
color: #333;
font-weight: 700;
font-size: 0.11rem;
line-height: 0.15rem;
}
</style>
iii.在src/views/Home.vue中引入和注入并且将数据传递给子类:
src/views/Home.vue,
<template>
<div>
<Header />
<Covid19Info :covid19Info="covid19Info" />
<CaseNum :caseNum="caseNum" />
</div>
</template>
<script>
import api from "../api"
import Header from "../components/Header.vue"
import Covid19Info from "../components/Covid19Info.vue"
import CaseNum from "../components/CaseNum.vue"
export default {
name: 'Home',
data () {
return {
covid19Info:{},
caseNum:{}
}
},
mounted () {
api.getNcov({
key:"62e34ad34025d5d5127135efa58d4ca8"
}).then(res=>{
// console.log(res.data);
if(res.status === 200){
this.covid19Info = {
note1:res.data.newslist[0].desc.note1,
note2:res.data.newslist[0].desc.note2,
note3:res.data.newslist[0].desc.note3,
remark1:res.data.newslist[0].desc.remark1,
remark2:res.data.newslist[0].desc.remark2,
remark3:res.data.newslist[0].desc.remark3
};
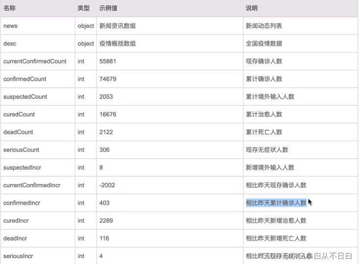
this.caseNum = {
// 更新时间戳
modifyTime:res.data.newslist[0].desc.modifyTime,
// 现存确诊人数
currentConfirmedCount:res.data.newslist[0].desc.currentConfirmedCount,
// 累计确诊人数
confirmedCount:res.data.newslist[0].desc.confirmedCount,
// 累计境外输入人数
suspectedCount:res.data.newslist[0].desc.suspectedCount,
// 累计治愈人数
curedCount:res.data.newslist[0].desc.curedCount,
// 累计死亡人数
deadCount:res.data.newslist[0].desc.deadCount,
// 现存无症状人数
seriousCount:res.data.newslist[0].desc.seriousCount,
// 新增境外输入人数
suspectedIncr:res.data.newslist[0].desc.suspectedIncr,
// 相比昨天现存确诊人数
currentConfirmedIncr:res.data.newslist[0].desc.currentConfirmedIncr,
// 相比昨天累计确诊人数
confirmedIncr:res.data.newslist[0].desc.confirmedIncr,
// 相比昨天新增治愈人数
curedIncr:res.data.newslist[0].desc.curedIncr,
// 相比昨天新增死亡人数
deadIncr:res.data.newslist[0].desc.deadIncr,
// 相比昨天现存无症状人数
seriousIncr:res.data.newslist[0].desc.seriousIncr
};
}
}).catch(error=>{
console.log(error);
})
},
components: {
Header,
Covid19Info,
CaseNum
},
}
</script>
iv.在src/components/CaseNum.vue里通过props获取父类传递过来的数据,并完成相应的逻辑部分的书写:
注意:
对于“累计确诊”、“累计境外输入”、“累计治愈”、“累计死亡”这些只能是正的,也就是只能增加,因此需要在前面加一个“+”号即可
对于“现存确诊”、“现存无症状”这两个有增有减,因此需要特殊处理
<template>
<div class="case-num">
<div class="container">
<div class="title">
<span>截止 {{ formatDate(caseNum.modifyTime) }} 全国数据统计</span>
</div>
</div>
<div class="num">
<ul class="count">
<li class="create-item">
<div class="create-count">
<b>较昨日 <em style="color:rgb(247,76,49)">{{numZore(caseNum.currentConfirmedIncr)}}</em> </b>
</div>
<strong style="color:rgb(247,76,49)">{{ caseNum.currentConfirmedCount }}</strong>
<span>现存确诊</span>
</li>
<li class="create-item">
<div class="create-count">
<b>较昨日 <em style="color:rgb(247, 130, 7)">+{{caseNum.confirmedIncr }}</em> </b>
</div>
<strong style="color:rgb(247, 130, 7)">{{ caseNum.confirmedCount }}</strong>
<span>累计确诊</span>
</li>
<li class="create-item">
<div class="create-count">
<b>较昨日 <em style="color:rgb(162, 90, 78)">+{{ caseNum.suspectedIncr }}</em> </b>
</div>
<strong style="color:rgb(162, 90, 78)">{{ caseNum.suspectedCount }}</strong>
<span>累计境外输入</span>
</li>
<li class="create-item">
<div class="create-count">
<b>较昨日 <em style="color:rgb(174, 33, 44)">+{{ caseNum.curedIncr }}</em> </b>
</div>
<strong style="color:rgb(174, 33, 44)">{{ caseNum.curedCount }}</strong>
<span>累计治愈</span>
</li>
<li class="create-item">
<div class="create-count">
<b>较昨日 <em style="color:rgb(93, 112, 146)">+{{ caseNum.deadIncr }}</em> </b>
</div>
<strong style="color:rgb(93, 112, 146)">{{ caseNum.deadCount }}</strong>
<span>累计死亡</span>
</li>
<li class="create-item">
<div class="create-count">
<b>较昨日 <em style="color:rgb(40, 183, 163)">{{ numZore(caseNum.seriousIncr) }}</em> </b>
</div>
<strong style="color:rgb(40, 183, 163)">{{ caseNum.seriousCount }}</strong>
<span>现存无症状</span>
</li>
</ul>
</div>
</div>
</template>
<script>
export default {
props: {
caseNum:{
type:Object,
default:()=>{
return {};
}
}
},
methods: {
//处理正负问题
numZore(num){
return num >= 0 ? "+" + num : num;
},
// 格式化日期和时间
formatDate(date){
var date = new Date();
var YY = date.getFullYear()+"-";
var MM = (date.getMonth() + 1) < 10 ? "0" + (date.getMonth() + 1) + "-" : date.getMonth() + "-";
var DD = date.getDate() < 10 ? "0" + date.getDate() + " " : date.getDate() + " ";
var hh = date.getHours() < 10 ? "0" + date.getHours() + ":" : date.getHours() + ":";
var mm = date.getMinutes() < 10 ? "0" + date.getMinutes() : date.getMinutes();
return YY + MM + DD + hh + mm;
}
}
}
</script>
最后,效果如下,

3.地图模块实现
在实现这个模块之前我们需要先了解什么是 Echarts 以及 vant 的简单使用
a.Echarts
i.关于安装Echarts的方案:
1. 手动引入Echarts,自己封装使用(本项目使用的方法)
地址:Apache ECharts
https://echarts.apache.org/zh/index.html
- npm install echarts@4.x --save
2. 引入第三方封装好的Echarts
- https://github.com/ecomfe/vue-echarts
注意事项:
4.x:我们当前选择的版本(当前选择)
5.x:引入地图比较麻烦,我们需要单独找到地图的json资源
ii.流程:
1.在src下新建一个名为 plugins 的文件夹,在该文件夹里面新建一个名为 echarts.js的文件,并在src/main.js里引入:
main.js
import Echarts from "./plugins/echarts"
Vue.use(Echarts)
2.在 src/components 目录下新建一个名为 Map.vue 的文件,并在 src/views/Home.vue 里引入和注入:
<template>
<div class="home">
<Map />
</div>
</template>
<script>
import Map from "../components/Map.vue"
export default {
name:"Home",
components: {
Map
}
}
</script>
3.完成 echarts.js 里的中国地图的相关配置 :
import echarts from "echarts"
const install = function(Vue) {
//将其挂载到原型属性上
Object.defineProperties(Vue.prototype, {
$charts: {
get() {
return {
//方法,提供外部访问
chinaMap: function(id, data) {
//定义容器接收并初始化
var chartDom = document.getElementById(id);
var myChart = echarts.init(chartDom);
var option = {
//鼠标移动上去提示框
tooltip: {
triggerOn: "click", // 事件类型
enterable: true, // 鼠标是否允许滑入悬浮框中
//对数据进行格式化操作
formatter(data) {
return data.name + '<br>' + data.value;
// return `<a href='/#/city/${ data.name }' style='color:#fff'>省:${data.name}<br/>病例:${ data.value }个</a>`;
}
},
//将数值的大小映射到明暗度
visualMap: [{
//如何放置 visualMap 组件,水平('horizontal')或者竖直('vertical')
orient: "vertical",
type: "piecewise", //分段型
pieces: [ // 匹配数据
{ min: 0, max: 0, color: "#fff" },
{ min: 1, max: 10, color: "#fdfdcf" },
{ min: 10, max: 100, color: "#fe9e83" },
{ min: 100, max: 1000, color: "#e55a4e" },
{ min: 1000, max: 10000, color: "#4f070d" },
]
}],
//呈现出来的样式的系列(柱状图、饼图...)
series: [{
name: "中国地图",
type: "map", // 选择类型为地图
map: "china", // 中国地图
roam: false, // 是否允许缩放
zoom: 1.2, // 放大比例
label: { // 配置文本
normal: {
show: true, // 是否允许地图显示文字
textStyle: { // 配置字体样式
fontSize: 8
}
}
},
//地图区域多边形图形样式(包含字体颜色、阴影等)
itemStyle: {
// 地图的区域颜色,线和区块的颜色
normal: {
areaColor: "rgba(0,255,236,0)",
borderColor: "rgba(0,0,0,0.2)"
},
// 区域颜色与阴影
emphasis: {
areaColor: "rgba(255,180,0,0.8)",
shadowOffsetX: 0,
shadowOffsetY: 0,
shadowBlur: 20,
borderWidth: 0
}
},
// data: [
// { name: "内蒙古", value: 130 },
// { name: "新疆", value: 12 },
// { name: "西藏", value: 8 },
// { name: "青海", value: 0 },
// ]
data
}]
};
myChart.setOption(option);
}
}
}
}
})
};
//导出
export default install
4..在main.js里引入中国地图的js文件
import "../node_modules/echarts/map/js/china"
5.在 src/api/base.js 中base = {}字段中引入接口(provinceNcov: "/wapicovid19/all.php");并在 src/api/index.js 文件里 const api = {} 字段里添加存放该接口请求的方法:
base.js
const base = {
baseUrl: "http://iwenwiki.com",
ncov: "/wapicovid19/ncov.php",
provinceNcov: "/wapicovid19/all.php", // 全国各个省市疫情数据
};
export default base;
index.js
import axios from '../utils/request'
import base from './base'
const api = {
getNcov(params) {
// console.log(base.baseUrl + base.ncov); //http://iwenwiki.com/wapicovid19/ncov.php
// console.log(params); //{key: '62e34ad34025d5d5127135efa58d4ca8'}
return axios.get(base.baseUrl + base.ncov, {
params
});
},
/**
* 各个省市疫情数据
*/
getProvinceNcov() {
return axios.get(base.baseUrl + base.provinceNcov);
},
};
export default api;
6.在 src/components 里的Map.vue里引入 api以及进行相应的渲染和配置:
<template>
<div>
<p class="title"><i></i>疫情地图</p>
<div id="map" class="map"></div>
</div>
</template>
<script>
import api from "../api"
export default {
mounted () {
//各省市地图
api.getProvinceNcov()
.then(res=>{
//data:[{name:"",valuue:""}]
console.log(res);
//过滤数据
// this.$charts.chinaMap("map");
let allCitys = [];//定义一个容器去接收所有数据
//遍历循环
for(let i = 0; i < res.data.retdata.length; i++){
// 获取数据里的name和vale字段
let temp = {
name: res.data.retdata[i].xArea,
value: res.data.retdata[i].curConfirm
};// 将数据里的name和vale字段放入容器里
allCitys.push(temp);
}
//渲染数据
this.$charts.chinaMap("map",allCitys);
}).catch(error=>{
console.log(error);
})
}
}
</script>
<style scoped>
.map{
width: 375px;
height: 400px;
}
.title {
border-top: 0.005rem solid #ebebeb;
border-bottom: 0;
display: -webkit-box;
display: -ms-flexbox;
display: flex;
-webkit-box-align: center;
-ms-flex-align: center;
align-items: center;
-webkit-box-pack: start;
-ms-flex-pack: start;
justify-content: flex-start;
height: 0.44rem;
padding: 0 0.16rem;
font-weight: 500;
font-size: 0.17rem;
line-height: 0.44rem;
background: #fff;
}
.title::before {
content: "";
width: 5px;
height: 20px;
background: #4169e2;
margin-right: 10px;
}
</style>
效果如下:

b.封装Tab组件
接下来将要做的就是利用vant封装一个Tab组件,以此来进行切换:

1.首先,在 src/components下新建tabs文件夹,并在该文件夹里分别新建 index.js(主入口文件)、tabs.vue、tab.vue、content.vue,这里关于tab的分析流程如下:
这是我们需要使用的结构大致如下:
<tabs :currentIndex="index" @onIndex="changeHandle">
<tab index="1" label="导航一">内容1</tab>
<tab index="2" label="导航二">内容2</tab>
<tab index="3" label="导航三">内容3</tab>
</tabs>
这是浏览器渲染后的结构:
<div>
<div>---tabs
<ul>
<li>导航1</li>--tab
<li>导航2</li>
<li>导航3</li>
</ul>
</div>
<div>--content
<div>内容1</div>
<div>内容2</div>
<div>内容3</div>
</div>
</div>
组件之间的关系:
- tabs -> tab:在我们封装组件中,他俩之间是通过slots进行处理的
- tabs -> content:引用关系
- tab -> content:在我们封装组件中,他俩之间是通过slots进行处理的
组件之间的关系说明:
- 1. $slots:插槽
- 2. $parent:边界管理-> 儿子通过$parent读取父级的属性和方法
- 3. props
- 4. 自定义事件:$emit
2.其次,在main.js里引入并完成tabs/index.js中主入口文件的配置:
import Tabs from "./components/tabs"
Vue.use(Tabs)
src/components/tabs/index.js
import Tabs from "./tabs.vue"
import Tab from "./tab.vue"
export default (Vue) =>{
Vue.component(Tabs.name,Tabs)
Vue.component(Tab.name,Tab)
}
3.完成tabs/tabs.vue、tabs/tab.vue、tabs/content.vue的书写
tabs.vue
<script>
import Content from "./content.vue";
export default {
name:"Tabs",
data () {
return {
// 所有内容部分的容器
pans: [],
}
},
props:{
currentIndex:{
type:[String,Number],
default:1
}
},
components: {
Content,
},
methods: {
getIndex(index) {
//子传父,获取子类的数据
this.$emit("onIndex", index);
},
},
render(){
return(
<div>
<ul class="tabs-header">{ this.$slots.default }</ul>
<Content pans={ this.pans } />
</div>
);
}
}
</script>
<style scoped>
.tabs-header {
display: flex;
list-style: none;
margin: 0;
padding: 0;
border-bottom: 2px solid #ededed;
}
</style>
tab.vue
<script>
export default {
name:"Tab",
props:{
label:{
type:String,
default:"tab"
},
/*
高亮制作:判断 currentIndex 是否等于 index
1.在tab.vue里面读取到index的值
2.在tabs.vue里读取currentIndex的值
3.判断 currentIndex 是否等于 index
3.1获取父级里的currentIndex属性
3.2作对比
3.3高亮显示
4.实现点击谁谁就高亮显示
4.1给li添加点击事件
4.2传值
4.3
*/
index:{
type:[String,Number],
default:1
}
},
computed:{
isActive(){
// 3.2作对比
return this.$parent.currentIndex == this.index
}
},
mounted(){
// 3.1读取父级里面的currentIndex属性
// console.log(this.$parent.currentIndex);
//读取到自己里面的内容并扔给pans
// this.$parent.pans.push(this.$slots.default)
//读取自己本身
this.$parent.pans.push(this);
},
methods:{
clickItemHandle(){
// 4.2
// console.log(666);
// 改变currentIndex的值,就可以改变高亮
// console.log(this.index);
// 利用事件回调将当前的index值传递给父级
this.$parent.getIndex(this.index)
}
},
render() {
// 3.3高亮显示
// console.log(this.isActive);//调用
let classNames = {
tab:true,
active:this.isActive
}
return(
<li onClick={ this.clickItemHandle } class={classNames}>{ this.label }</li>
);
}
}
</script>
<style scoped>
.tab {
flex: 1;
list-style: none;
line-height: 40px;
margin-right: 30px;
position: relative;
text-align: center;
}
.tab.active {
border-bottom: 2px solid blue;
}
</style>
content.vue
<script>
export default {
name:"Content",
props:{
pans:{
type:Array,
default:() =>{
return []
}
}
},
render(){
return(
<div>
{
this.pans.map((ele,index) =>{
// 相当于移除和加载
// return ele.isActive ? ele.$slots.default : ""
//相当于显示和隐藏
return <div style={{ display:ele.isActive ? 'block' : 'none' }}>{ ele.$slots.default }</div>
})
}
</div>
)
}
}
</script>
<style>
</style>
4.在Map.vue里引入封装好的组件
<template>
<div>
<p class="title"><i></i>疫情地图</p>
<!-- 第一步 -->
<tabs :currentIndex="currentIndex" @onIndex="getIndexHandle">
<tab index="chinaMap" label="中国地图">
<div class="map" id="map"></div>
</tab>
<tab index="worldMap" label="世界地图">
<!-- <div class="map" id="worldMap"></div> -->
测试
</tab>
</tabs>
</div>
</template>
<script>
import api from "../api"
export default {
data(){
return{
// 第二步
currentIndex:"chinaMap"
}
},
methods:{
// 第三步
getIndexHandle(index){
this.currentIndex = index
}
},
mounted () {
//各省市地图
api.getProvinceNcov()
.then(res=>{
//data:[{name:"",valuue:""}]
console.log(res);
//过滤数据
// this.$charts.chinaMap("map");
let allCitys = [];//定义一个容器去接收所有数据
//遍历循环
for(let i = 0; i < res.data.retdata.length; i++){
// 获取数据里的name和vale字段
let temp = {
name: res.data.retdata[i].xArea,
value: res.data.retdata[i].curConfirm
};// 将数据里的name和vale字段放入容器里
allCitys.push(temp);
}
//渲染数据
this.$charts.chinaMap("map",allCitys);
}).catch(error=>{
console.log(error);
})
}
}
</script>
<style scoped>
.map{
width: 375px;
height: 400px;
}
.title {
border-top: 0.005rem solid #ebebeb;
border-bottom: 0;
display: -webkit-box;
display: -ms-flexbox;
display: flex;
-webkit-box-align: center;
-ms-flex-align: center;
align-items: center;
-webkit-box-pack: start;
-ms-flex-pack: start;
justify-content: flex-start;
height: 0.44rem;
padding: 0 0.16rem;
font-weight: 500;
font-size: 0.17rem;
line-height: 0.44rem;
background: #fff;
}
.title::before {
content: "";
width: 5px;
height: 20px;
background: #4169e2;
margin-right: 10px;
}
</style>
最后就是渲染世界地图、各省市地图,这些都与上面的加载中国地图、渲染中国地图一样,因此关于这一部分这里就不去叙述了。我们就直接看成品:

四、疫情曲线图
这一部分的实现主要是用swiper,然后就是用了几张图片来替代
安装swiper:cnpm install swiper vue-awesome-swiper --save
1.在components目录下新建MySwiper.vue文件:
在Home.vue里引入
2.在api/base.js和api/index.js里进行引入相关接口与函数编写:
const base = {
swiperImg:"/wapicovid19/ncovimg.php", // 曲线图
}
export default base;
import axios from "../utils/request"
import base from "./base"
const api = {
getSwiperImg(){
return axios.get(base.baseUrl + base.swiperImg)
},
}
export default api;
3.在components/MySwiper.vue里面引入
<template>
<div class="chart">
<h3 class="title">全国</h3>
<swiper ref="mySwiper" :options="swiperOptions">
<swiper-slide v-for="(item, index) in swiperData" :key="index">
<img :src="item.image" alt="" />
</swiper-slide>
</swiper>
<ul class="navigator">
<li
:class="{ active: index === currentIndex }"
v-for="(item, index) in swiperData"
:key="index"
class="navigatorItem"
@click="clickItemHandle(index)"
>
{{ item.title }}
</li>
</ul>
</div>
</template>
<script>
import { Swiper, SwiperSlide, directive } from "vue-awesome-swiper";
import "swiper/swiper-bundle.css";
import api from "../api";
export default {
data() {
let _this = this;
return {
swiperData: [],
currentIndex: 0,
swiperOptions: {
on: {
slideChangeTransitionEnd: function () {
_this.currentIndex = this.activeIndex;
},
},
},
};
},
components: {
Swiper,
SwiperSlide,
},
mounted() {
api
.getSwiperImg()
.then((res) => {
if (res.status === 200) {
this.swiperData = res.data.result;
}
})
.catch((error) => {
console.log(error);
});
},
computed: {
swiper() {
return this.$refs.mySwiper.$swiper;
},
},
methods: {
clickItemHandle(index) {
this.currentIndex = index;
this.swiper.slideTo(index, 1000, false);
},
},
};
</script>
<style scoped>
.line {
padding: 0 10px;
width: 100%;
height: 300px;
}
.chart {
position: relative;
background: #fff;
padding: 0.16rem 0;
}
.chart .title {
font-size: 0.16rem;
margin: 0 0 0.08rem 0.16rem;
}
.chart .swiper-pagination {
position: absolute;
text-align: center;
-webkit-transition: 300ms opacity;
-o-transition: 300ms opacity;
transition: 300ms opacity;
-webkit-transform: translate3d(0, 0, 0);
transform: translate3d(0, 0, 0);
z-index: 10;
}
.chart .swiper-pagination-bullet {
width: calc(20% - 0.02rem);
text-align: center;
background: #f7f7f7;
padding: 0.045rem;
box-sizing: border-box;
color: #666;
display: flex;
align-items: center;
justify-content: center;
border-radius: 0.02rem;
}
.navigator {
font-size: 0.12rem;
list-style: none;
display: flex;
padding: 0 0.16rem;
justify-content: center;
margin: 0.06rem 0 0;
}
.navigatorItem {
color: #4169e2;
background: #f1f5ff;
position: relative;
width: calc(20% - 0.02rem);
text-align: center;
background: #f7f7f7;
padding: 0.045rem;
box-sizing: border-box;
color: #666;
display: flex;
align-items: center;
justify-content: center;
border-radius: 0.02rem;
margin-left: 0.025rem;
}
.active {
color: #4169e2;
background: #f1f5ff;
position: relative;
}
</style>

五、疫情出行UI布局的实现

对于这一部分的实现我们依旧采用组件化的思想,利用vant来实现,通过
npm i vant -S
npm i babel-plugin-import -D
命令来进行安装,具体可参考:vanthttps://vant-contrib.gitee.io/vant/#/zh-CN/quickstart
https://vant-contrib.gitee.io/vant/#/zh-CN/quickstart
1.在components文件夹里新建一个Trip.vue并在Home.vue里注册引入
<template>
<div class="home">
<Trip />
</div>
</template>
<script>
import Trip from "../components/Trip.vue"
export default {
name:"Home",
components: {
Trip
}
}
</script>
2.在安装好vant后,在babel.config.js里进行如下配置
module.exports = {
presets: [
'@vue/cli-plugin-babel/preset'
],
"plugins": [
["import", {
"libraryName": "vant",
"libraryDirectory": "es",
"style": true
}]
]
}
3.在plugins文件夹里新建vant.js,并进行配置,将需要用到的引入
import Vue from 'vue';
import { Cascader } from 'vant';
import { Field } from 'vant';
import { Button } from 'vant';
import { Popup } from 'vant';
Vue.use(Popup);
Vue.use(Button);
Vue.use(Field);
Vue.use(Cascader);
4.在main.js里引入vant
import "./plugins/vant"
5.在components目录下新建Cascader.vue文件,用来封装组件以达到复用的效果
<template>
<div>
<van-field
v-model="city"
is-link
readonly
:label="label"
placeholder="请选择所在地区"
@click="show = true"
/>
<van-popup v-model="show" round position="bottom">
<van-cascader
v-model="cascaderValue"
title="请选择所在地区"
:options="options"
@close="show = false"
@finish="onFinish"
/>
</van-popup>
</div>
</template>
<script>
export default {
data () {
return {
city:"",
show:false,
cascaderValue:""
}
},
props:{
options:{
type:Array,
default:()=>{
return []
}
},
label:{
type:String,
default:""
}
},
methods: {
// 全部选项选择完毕后,会触发 finish 事件
onFinish({ selectedOptions }) {
this.show = false;
this.city = selectedOptions.map((option) => option.text).join('/');
this.$emit("onValue",selectedOptions[1]);//子传父
},
}
}
</script>
6.进行数据适配,在api/base.js和api/index.js里分别写入接口和接口函数
base.js,
const base = {
baseUrl: "http://iwenwiki.com",
citys: "/wapicovid19/citys.php", // 获取所有城市
};
export default base;
index.js,
import axios from '../utils/request'
import base from './base'
const api = {
getNcov(params) {
// console.log(base.baseUrl + base.ncov); //http://iwenwiki.com/wapicovid19/ncov.php
// console.log(params); //{key: '62e34ad34025d5d5127135efa58d4ca8'}
return axios.get(base.baseUrl + base.ncov, {
params
});
},
/** 防疫政策数据*/
getCitys(params) {
return axios.get(base.baseUrl + base.citys, {
params
})
}
};
export default api;
7.在Trip.vue里进行配置
<template>
<div class="spring">
<h3 class="title">疫情期间出行防疫政策</h3>
<Cascader label="出发城市" :options="options" @onValue="getFromCity" />
<Cascader label="到达城市" :options="options" @onValue="getToCity" />
<van-button type="primary" block>查看政策</van-button>
</div>
</template>
<script>
import Cascader from "./Cascader.vue"
import api from "../api"
export default {
data () {
return {
options:[]
}
},
components:{
Cascader
},
mounted () {
api.getCitys({
key:"171e165a7d991c5f6ecd5194c54778ef",
}).then(res=>{
//获取相对应的数据
// console.log(res.data);
var currentAll = [];
for(var i=0;i<res.data.result.length;i++){
var arr = [];
for(var j=0;j<res.data.result[i].citys.length;j++){
var temp2= {
text:res.data.result[i].citys[j].city,
value:res.data.result[i].citys[j].city_id
};
arr.push(temp2);
}
var temp1= {
text:res.data.result[i].province,
value:res.data.result[i].province_id,
children:arr
};
currentAll.push(temp1);
}
// console.log(currentAll);
this.options = currentAll;
}).catch(error=>{
console.log(error);
})
},
methods: {
getFromCity(fromCity){
console.log(fromCity);
},
getToCity(toCity){
console.log(toCity);
}
}
}
</script>
<style scoped>
.spring {
width: 100%;
background: #fff;
padding: 10px;
box-sizing: border-box;
}
.spring .title {
font-size: 0.16rem;
margin: 0 0 0.08rem 0.16rem;
}
</style>
更多推荐



所有评论(0)